聯系方式
JP-LDE系列智能防腐電磁流量計采用四氟襯里,根據測量介質選擇適合相應電極用來測量酸、堿、鹽等腐蝕性導電液體的體積流量。防腐電磁流量計廣泛應用于石油、化工、冶金、紡織、食品、制藥、造紙等行業以及環保、市政管理,水利建設等領域。
一、防腐電磁流量計產品特點:
1、測量不受流體密度、粘度、溫度、壓力和電導率變化的影響;
2、測量管內無阻礙流動部件,無壓損,直管段要求較低;
3、系列公稱通徑DN15~DN3000。傳感器襯里和電極材料有多種選擇;
4、轉換器采用新穎勵磁方式,功耗低、零點穩定。流量范圍度可達1500:1;
5、轉換器可與傳感器組成一體型或分離型;
6、轉換器采用16位高性能微處理器,2x16LCD顯示,參數設定方便,編程可靠;
7、流量計為雙向測量系統,內裝三個積算器:正向總量、反向總量及差值總量;可顯示.莊、反流量,并具有多種輸出:電流、脈沖、數字通訊、HART;
8、轉換器采用表面安裝技術SMT,具有自檢和自診斷功能;
二、主要技術數據:
整機和傳感器技術數據
電極的選擇
三、JP-LDE系列智能型防腐電磁流量計參考流量范圍:
四、電磁流量計選型表:
五、電磁流量計安裝 示意圖及注意事項:
| 執行標準 | JB/T 9248~1999 | ||||
| 公稱通徑 |
15、20、25、32、40、50、65、80、100、125、150、200、250、300、 350、400、450、500、600、700、800、900、1000、1200、1400、1600、 1800、2000、2200、2400、2600、2800、3000 |
||||
| 高流速 | 15m/s | ||||
| 精確度 | DNl5~DN600 | 示值的:±0.3%流速≥1m/s;±3mm/s流速<1m/s | |||
| DN700~DN3000 | 示值的±0.5%流速≥0.8m/S;±4mm/s流速<0.8m/S | ||||
| 流體電導率 | ≥5uS/cm | ||||
| 公稱壓力 | 4.0MPa | 1.6MPa | 1.0MPa | 0.6MPa | 6.3、10MPa |
| DNl5~DN150 | DNl5~DN600 | DN200~DN1000 | DN700~DN3000 | 特殊訂貨 | |
| 環境溫度 | 傳感器 | -25℃- +60℃ | |||
| 轉換器及一體型 | -10℃- +60℃ | ||||
| 襯里材料 | 聚四氟乙烯、聚氯丁橡膠、聚氨酯、聚全氟乙丙烯F46、加網PFA | ||||
| 高流體溫度 | 一體型 | 70℃ | |||
| 分離型 | 聚氯丁橡膠襯里 | 80℃;120℃訂貨時注明 | |||
| 聚氨酯襯里 | 80℃ | ||||
| 聚四氟乙烯襯里 | 100℃;150℃訂貨時注明 | ||||
| 聚全氟乙丙烯F46 | |||||
| 加網PFA | |||||
| 信號電極和接地電極材料 | 不銹鋼0Crl8Nil2M02Ti、哈氏合金C、哈氏合金B、鈦、鉭、鉑/銥合金、不銹鋼涂覆碳化鎢 | ||||
| 電極刮刀機構 | DN300—DN3000 | ||||
| 連接法蘭材料 | 碳鋼 | ||||
| 接地法蘭材料 | 不銹鋼1Crl8Ni9Ti | ||||
| 進口保護法蘭材料 | DN65—DNl50 | 不銹鋼1Crl8Ni9Ti | |||
| DN200~DNl600 | 碳鋼十不銹鋼1Crl8Ni9Ti | ||||
| 外殼防護 | DNl5~DN3000分離型橡膠或聚氨酯襯里傳感器 | IP65或IP68 | |||
| 其他傳感器、一體型流量計和分離型轉換器 | IP65 | ||||
| 間距分離型 | 轉換器距離傳感器一般不超過100m | ||||
轉換器技術數據
|
||||||||||||||||||||||||||||||||||||||||||||
襯里的選擇
|
||||||||||||||||||||||||||||||||||||||||||||
進口保護法蘭和接地法蘭或接地環的選擇
|
|||||||
電極的選擇
| 電極材料 | 耐蝕及耐磨性能 |
| 不銹鋼0Crl8Nil2M02Ti | 用于工業用水、生活用水、污水等具有弱腐蝕性的介質,適用于石油、化工、鋼鐵等工業部門及,市政、環保等領域。 |
| 哈氏合金B | 對沸點以下的一切濃度的鹽酸有良好的耐蝕性,也耐硫酸、磷酸、氫氟酸、有機酸等非氯化性酸、堿,非氧化性鹽液的腐蝕。 |
| 哈氏合金C | 能耐非氧化性酸,如硝酸、混酸、或鉻酸與硫酸的混合介質的腐蝕,也耐氧化性鹽類如:Fe,"、、Cu"下或含其他氧化劑的腐蝕,如高于常溫的次氯酸鹽溶液、海水的腐蝕 |
| 鈦 | 能耐海水、各種氯化物和次氯酸鹽、氧化性酸包括發煙硫酸、有機酸、堿的腐蝕。不耐較純的還原性酸如硫酸、鹽酸的腐蝕,但如酸中含有氧化劑如硝酸、Fc++、Cu++時,則腐蝕大為降低。 |
| 鉭 | 具有優良的耐蝕性和玻璃很相似。除了氫氟酸、發煙硫酸、堿外,幾乎能耐一切化學介質包括沸點的鹽酸、硝酸和l 50℃以下的硫酸的腐蝕。在堿中刁;耐蝕。 |
| 鉑/鈦合金 | 幾乎能耐一切化學介質,但不適用于王水和銨鹽。 |
| 不銹鋼涂覆碳化鎢 | 用于無腐蝕性,強磨損性的介質。 |
| 注: 由于介質種類繁多,其腐蝕性又受溫度、濃度、流速等復雜因素影響而變化,故本表僅供參考。用戶應根據實際情況自己做出選擇,必要時應做擬選材料的耐腐試驗,如掛片試驗。 | |
三、JP-LDE系列智能型防腐電磁流量計參考流量范圍:
|
口徑 (DN) |
流 量 范 圍 (m)3/h |
口徑 (DN) |
流 量 范 圍 (m)3/h |
口徑 (DN) |
流 量 范 圍 (m)3/h |
| 15 | 0.4~6.0 | 150 | 40~600 | 700 | 900~12000 |
| 20 | 0.6~12 | 200 | 60~1000 | 800 | 1000~16000 |
| 25 | 1.0~15 | 250 | 100~1600 | 900 | 1200~20000 |
| 32 | 1.0~25 | 300 | 160~2500 | 1000 | 1600~25000 |
| 40 | 2.5~40 | 350 | 200~3000 | 1200 | 2500~30000 |
| 50 | 4~60 | 400 | 250~4000 | 1400 | 3000~50000 |
| 65 | 6~120 | 450 | 300~5000 | 1600 | 4000~60000 |
| 80 | 10~160 | 500 | 400~6000 | 1800 | 5000~80000 |
| 100 | 16~250 | 550 | 500~8000 | 2000 | 6000~100000 |
| 125 | 25~400 | 600 | 6000~10000 | 2200 | 7000~120000 |
四、電磁流量計選型表:
| JP-LDE | 電磁流量計 | ||||||||||||||||||||||||
|
口徑 (mm) |
15 | DN15 | |||||||||||||||||||||||
| 20 | DN20 | ||||||||||||||||||||||||
| … | … | ||||||||||||||||||||||||
| 2600 | DN2600 | ||||||||||||||||||||||||
| 安裝方式 | Y | 一體式 | |||||||||||||||||||||||
| F | 分體式式 | ||||||||||||||||||||||||
| 輸出信號 | I | 4~20mA | |||||||||||||||||||||||
| H | 4~20mA+HART協議 | ||||||||||||||||||||||||
| F | 頻率 | ||||||||||||||||||||||||
| R | RS485通訊 | ||||||||||||||||||||||||
| 襯里材質 | N | 氯丁橡膠(65℃以下) | |||||||||||||||||||||||
| F | 聚四氟乙烯(160℃以下) | ||||||||||||||||||||||||
| P | 聚氟乙烯(70℃) | ||||||||||||||||||||||||
| 電極材質 | 3L | 316L | |||||||||||||||||||||||
| HB | 哈氏合金B | ||||||||||||||||||||||||
| HC | 哈氏合金C | ||||||||||||||||||||||||
| Ti | 鈦 | ||||||||||||||||||||||||
| Ta | 鉭 | ||||||||||||||||||||||||
| By | 鉑銥合金 | ||||||||||||||||||||||||
| 壓力等級 | 1 | PN1.6 | |||||||||||||||||||||||
| 2 | PN2.5 | ||||||||||||||||||||||||
| 4 | PN4.0 | ||||||||||||||||||||||||
| 6 | PN6.3 | ||||||||||||||||||||||||
| 9 | PN16 | ||||||||||||||||||||||||
| 供電方式 | D | DC 24V | |||||||||||||||||||||||
| A | AC 220V | ||||||||||||||||||||||||
| 附加選項 | C | 插入式 | |||||||||||||||||||||||
| B | 防爆(ExII CT6) | ||||||||||||||||||||||||
五、電磁流量計安裝 示意圖及注意事項:
| 注意事項 | 圖例 | |||||||||||||||||||
|
1.水平直管道的安裝 保證流量計的前直管段≥5D,后直管段≥3D |
![]() |
|||||||||||||||||||
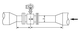
|
2.擴管的安裝: 對于小口徑大流量,擴管安裝,同時保證流量計的前直管 段≥5D,后直管段≥2D |
|
|||||||||||||||||||
|
3.縮管的安裝: 對于大口徑小流量,縮管安裝,同時保證流量計的前直管 段≥10D,后直管段≥5D |
|
|||||||||||||||||||
|
4.前后有彎管的安裝: 對于流量計前后有彎管的安裝,應保證流量計的前直管段≥10D,后直管段≥5D |
![]() |
|||||||||||||||||||
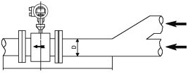
|
5.閥 應將閥安裝在流量計的上游,同時保證流量計的前直管段≥10D,后直管段≥5D |
![]() |
|||||||||||||||||||
|
6.泵 應將泵安裝在流量計的上游,同時保證流量計的前直管段≥15D,后直管段≥5D |
![]() |
|||||||||||||||||||
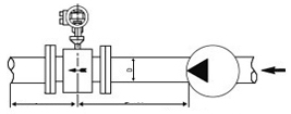
|
7.支管進總管 對于流量計前端有兩個支管進總管時,應保證流量計的前直管段≥30D,后直管段≥3D |
![]() |
|||||||||||||||||||









![[list:title]](/uploads/allimg/180722/1-1PH2091S5.jpg)




